特許庁長官賞
袋がそのまま皿になる冷凍食品(特許第7629852号)
[山形県発明協会]
徳善 好美 |
マルハニチロ株式会社 生産企画部 調達課 課長代理 |
谷 和憲 |
マルハニチロ株式会社 開発部 部長 |
萩原 慎太郎 |
マルハニチロ株式会社 開発部 技術開発グループ 業務用食品課 課長役 |
宮川 友良 |
マルハニチロ株式会社 宇都宮工場 ハムソーセージ課 主任 |
実 施 功 績 賞
池見 賢 |
マルハニチロ株式会社 代表取締役社長 |
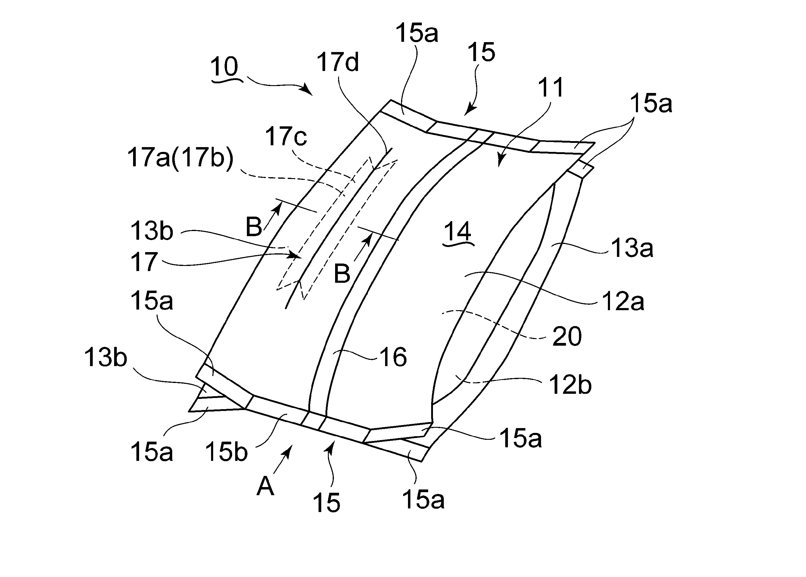
本発明は、冷凍食品を袋のまま電子レンジで加熱した後、V字側面を下にして自立し、上部を切り開くだけで皿に移さずそのまま食べられる包装袋製品である。
本発明は、矩形の前後正面フィルム部と短辺端部のみ接合したV字状側面フィルム部を備え自立可能な構造になっている。袋の素材は合成樹脂製延伸フィルムと、その内側に貼り付けた熱で接着できる合成樹脂製未延伸フィルムの2層構造になっており、矩形の後ろ側正面フィルム部の一方に設けた蒸気排出部により加熱時の内部圧力を一定範囲に保持することで蒸し効果を高める。加熱後は側面を下に置き自立し、食品を皿に移し替えずに切開口から直接取り出し容易に食べることができる。
本発明により、冷凍食品を袋のまま電子レンジで加熱し、そのまま喫食することが可能となったため、個食化や時短・簡便性へのニーズに応えるとともに、容器の移し替え・洗浄の手間を省き、環境負荷の低減にも貢献している。
Copyright©1996- Japan Institute of Invention and Innovation All rights reserved

